15996058266 - 86+
مسكن / أخبار / براءات الاختراع والمزايا الإلكترونية لآسيا / براءات الاختراع والمزايا الإلكترونية لآسيا

براءات الاختراع والمزايا الإلكترونية لآسيا

تصفح الكمية:0     الكاتب:محرر الموقع     نشر الوقت: 2022-08-17      المنشأ:محرر الموقع

رسالتك

facebook sharing button
twitter sharing button
line sharing button
wechat sharing button
linkedin sharing button
pinterest sharing button
whatsapp sharing button
sharethis sharing button

يمكننا أن نقدم محامل التزاوج من lurgy المعدنية ، وشاحنة التعدين وحفر شكل بلات في الخارج وإصلاح المحامل من خلال منتجاتنا وخدماتنا عالية الجودة


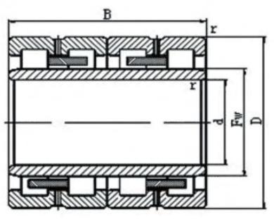
عمر طويل أربعة صفوف أسطواني أسطواني

محمل درفلة أسطوانية بأربعة صفوف مقسمة إلى نوعين من مطحنة درفلة الصلب وطاحونة درفلة الألمنيوم.سرعة دورانها 400-600 دورة في الدقيقة (فولاذ) و 1500-2000 دورة في الدقيقة (ألمنيوم) على التوالي.


يمكن أن تحمل محامل أسطوانية ذات أربعة صفوف حمل شعاعي أثقل بكثير وحمل الصدمات.لديهم دقة أعلى ويمكن تطبيقها في المعدات التي تعمل بسرعة دوران عالية.طحن سطح مجرى السباق والأسطوانة في نفس الوقت بعد الضغط على الحلقة الداخلية على رقبة الأسطوانة ، فإنه يفضل تحسين دقة التدحرج والتعديل المجاني لخلوص التركيب للمحامل.يتم تطبيق هذه المحامل في الغالب على أسطوانة العمل والأسطوانة الاحتياطية لمصانع الدرفلة وبعض الصناديق الأخرى.
FC: حلقات خارجية مزدوجة ، حلقة داخلية مفردة ، وداخلية بدون شفة.
FCD: حلقات خارجية مزدوجة ، حلقات داخلية مزدوجة ، وحلقة داخلية بدون شفة.
FCDP: حلقات خارجية مزدوجة ، لها شفة مركزية فقط ، ولكن مع ضلع فضفاض ، حلقة داخلية مزدوجة ، داخلية بدون شفة.


تحمل لا الأبعاد (مم) التحميل الأساسي (كيلو نيوتن) الكتلة (كلغ)
dxDxB دين. (كر) ستات (كو)
FC2640125 130 × 200 × 125 530 1200 14.6
FC3045120 150 × 225 × 120 645 1450 16.7
FC3246130 160 × 230 × 130 665 1705 16.9
FC3248124 160 × 240 × 124 685 1530 20.3
FC3248168 160 × 240 × 168 685 1530 26.4
FCD3446160 170 × 230 × 160 1100 2360 20
FC3452120 170 × 260 × 120 660 1790 24.6
FC3652124 180 × 260 × 124 735 1730 21.7
FC3652168 180 × 260 × 168 1070 2790 30.2
FC3652168 / YA3 180 × 260 × 168 1070 2790 30.1
FC3854168 190 × 270 × 168 950 2430 30.2
FC3854168 / YA3 190 × 270 × 168 950 2430 29.9
FC3854170 / YA3 190 × 270 × 200 950 2430 30.2
FC4056188 200 × 290 × 192 985 2580 35.7
FC4462192 / YA3 220x310x192 1300 1910 45.8
FC4462225 220x320x210 1450 4050 53.9
FC4666206 / YA3 230 × 330 × 206 1350 3800 56.5
FC4866220 / YA3 240 × 330 × 220 1620 4850 56.5
FC4866220 240 × 330 × 220 1620 4850 56.7
FC4872220 240 × 360 × 200 1700 4410 78
FC4872220A / C4YA3 240 × 360 × 200 1700 4410 78
FC5072220 / YA3 250 × 360 × 220 1500 4250 76.9
FC5274200 260 × 370 × 200 1570 4250 73
FC5274220 / YA3 260 × 370 × 220 1760 4900 79.2
FC5274220 260 × 370 × 220 1760 4900 80
FC5476230 / YA3 270 × 380 × 230 1720 4800 80.2
FC5478230 270 × 390 × 236 2100 5950 97.8
FC5678220 280 × 390 × 220 1790 5150 86.5
FCDP5678275 280 × 390 × 275 2200 6250 102
FC6490240 / YA3 320 × 450 × 240 2460 6720 119
FCD72102370 360 × 510 × 370 3850 11400 220
FCDP74104380 370 × 520 × 380 3900 12000 296
FCDP88124450 440 × 620 × 450 5200 15800 452
FCDP88124450 / YA6 440 × 620 × 450 5200 15800 452
FCD96130450 480x650x450 4750 15400 419


سؤال
60 عامًا من التأسيس ، حصلت محامل E-ASIA على علامات SllyB و JSS.
اتصل بنا
  رقم 88 ، مبنى E-ASIA 1-6 ، مجمع Jingjiang للصناعات ، مقاطعة جيانغسو ، الصين
  sales@zwz-skf.com
   15996058266 - 86+
  rachelsun168 

منتجات

روابط سريعة

حقوق النشر © 2023 شركة E-ASIA Bearing Co.، Ltd.خSitemap مدعوم من Leadong